下载野途手机客户端 赛事管理后台
扫码关注
“野途网”公众号
马上报名
×
意见反馈
客服电话:400-6563-116

新一代Enduro?闪电采用UBB悬架专利图曝光

作者: 多米 2023-10-25 14:02:43 6156 评论:0

新一代Enduro?闪电采用UBB悬架专利图曝光

本月早些时候,闪电赞助车手卢瓦克·布鲁尼(Loic Bruni)和芬恩·伊尔斯(Finn Illes)在世界杯赛场上分别骑着一辆后胆部位被盖子完全遮住的原型速降车,可以预测这应该是闪电下一代全避震车型的新结构。

新一代Enduro?闪电采用UBB悬架专利图曝光

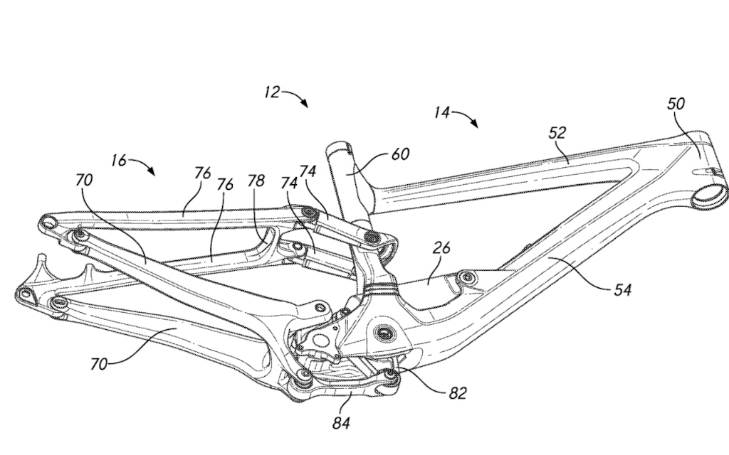
现在在黑色盒子里的新结构正在被一步步揭开面纱,从闪电最新的专利图可以看出,新车中的避震造型有所变化,它在五通底部多了一个连杆,该连杆拉动另一个连杆以推动后胆。闪电称其为UBB(Under Bottom Bracket)悬架系统,它可以独立微调关键的动力学组件,包括轴路径、后胆杠杆率和制动的防下沉/防上升特性。

新一代Enduro?闪电采用UBB悬架专利图曝光

新一代Enduro?闪电采用UBB悬架专利图曝光

新一代Enduro?闪电采用UBB悬架专利图曝光

该专利详细说明了设计的几种不同方式,以及由此产生的防下沉、防上升和杠杆比率值。有趣的是,专利描述中使用的车架具有172毫米的行程,如果这种悬架布局出现在新的Enduro 上,我们不会感到惊讶,毕竟该车自上次更新以来已经四年多了。它虽然还是市场上受欢迎的全避震车型,但是有些地方可以进一步修改了。

新一代Enduro?闪电采用UBB悬架专利图曝光

该专利的基本主张是让新系统在调整自行车悬架性能的各个方面时具有更大的灵活性。图纸详细展示了系统的工作原理,一个连杆在五通底部下运行,将链条连接到另一个围绕轴承旋转并驱动减震的短连杆。

新一代Enduro?闪电采用UBB悬架专利图曝光

该专利还提到使用不同的制动支架设计来调整自行车的防上升特性。就专利中的整体悬架特性而言,可预测性似乎是这里的目标,极端的S型杠杆率曲线已成为过去,平稳、舒适或许是新目标。

编辑:滨

您需要登录后才可以发动态 登录注册
全部评论热门评论