下载野途手机客户端 赛事管理后台
扫码关注
“野途网”公众号
马上报名
×
意见反馈
客服电话:400-6563-116

边骑边充电 禧玛诺磁共振充电专利曝光

作者: 多米 2023-01-30 10:01:25 6766 评论:0

边骑边充电 禧玛诺磁共振充电专利曝光

关于禧玛诺的下一代Di2组件已经有众多传言,现在该品牌又曝出可以边骑边充电的非接触式充电系统,该系统使用电磁感应或磁共振为电子升降座管、避震器调节、车灯和前拨进行无线充电。

边骑边充电 禧玛诺磁共振充电专利曝光

这项最新专利描述了无线充电系统在公路车和全避震山地车上实施的可行性,当然也适用于货运自行车、砾石自行车、通勤自行车等。对于公路自行车,前拨链器被认为是可以非接触方式充电的电子设备。在山地自行车上,受益的组件清单还包括车灯、升降座杆和可调悬架(前叉和后胆)。

禧玛诺在2021年的时候提出过电子避震模块的专利,该模块能够调整悬架行程。现在最新专利中提到了相同的技术,但它进一步表明该模块也能够调整悬架的柔软度/硬度,这很可能是指阻尼特性。无论结果如何,这里的重点是悬架调节模块是以非接触方式(即无线方式)充电的组件之一。

边骑边充电 禧玛诺磁共振充电专利曝光

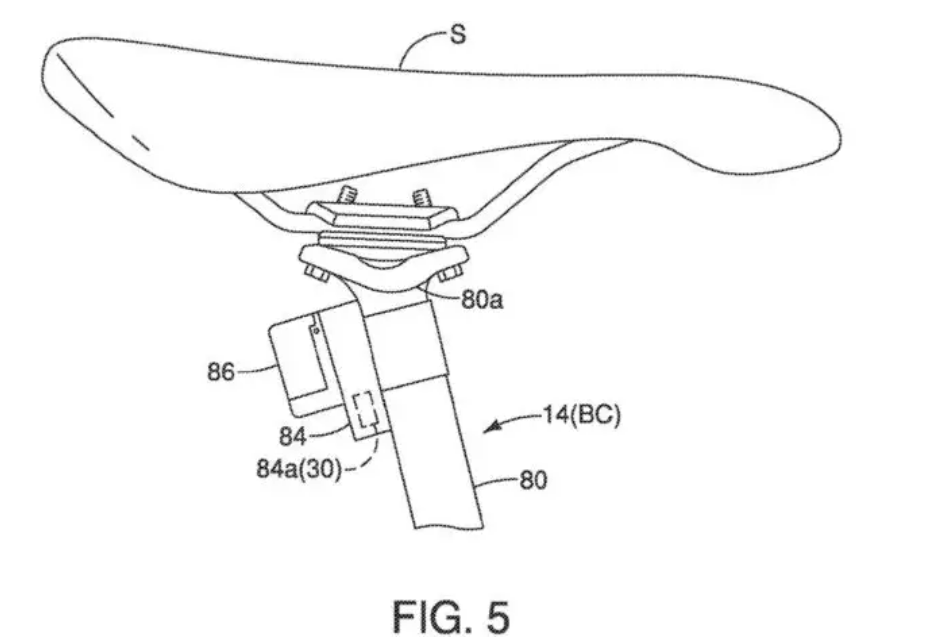
我们可以看到专利图中前叉的可充电电池单元(102)与电动执行器或电动机(100a)相连。禧玛诺描述了包括电源接收器,非接触式充电部分,非接触式充电线圈、控制器、无线通信器,AC / DC转换器和可充电电源。

边骑边充电 禧玛诺磁共振充电专利曝光

该专利写道,非接触式充电使用大约100 kHz至200 kHz之间的频段频率通过电磁感应传输功率。虽然实际充电没有直接的电线连接,但仍然需要一根电线将电子流从eBike的主电池路由到悬架调节模块附近的非接触式充电线圈。

这与当前的RockShox无线控制前叉或升降座管相比,实际上是在添加电线,两者都只是容纳一个可拆卸的可充电电池。更多的电线意味着更多的内部布线需要处理,以及更多异响的可能性,机械师也会更头疼的。另一方面,电池(或称为可充电电源)可能要小得多,因为它的电荷将通过电磁感应不断补充,这有可能使组件本身更轻。

边骑边充电 禧玛诺磁共振充电专利曝光

该专利补充道,非接触式充电线圈可以配置为使用磁共振,以便非接触式充电装置可以距离自行车部件一两米。当非接触式充电线圈通过磁共振接收电力时,无线通信器用于与非接触式充电设备进行信息交流。在这种情况下,可以对电子元件进行真正的无线充电,也就是说,这项技术似乎也可以应用于普通自行车。

编辑:滨

您需要登录后才可以发动态 登录注册
全部评论热门评论