下载野途手机客户端 赛事管理后台
扫码关注
“野途网”公众号
马上报名
×
意见反馈
客服电话:400-6563-116

会是下一个自行车风口吗?折叠系统专利审查

作者: 许老黑 2019-11-26 11:01:52 7350 评论:1

会是下一个自行车风口吗?折叠系统专利审查

虽然在这个自行车创新已经逐渐走向瓶颈的时候,折叠自行车依然被认为不合时宜,或者也许仅仅是为了实用,但最近一份专利表露可以将任何类型的自行车,统统折叠起来,有助于减少运输成本,还可以节省空间。

会是下一个自行车风口吗?折叠系统专利审查

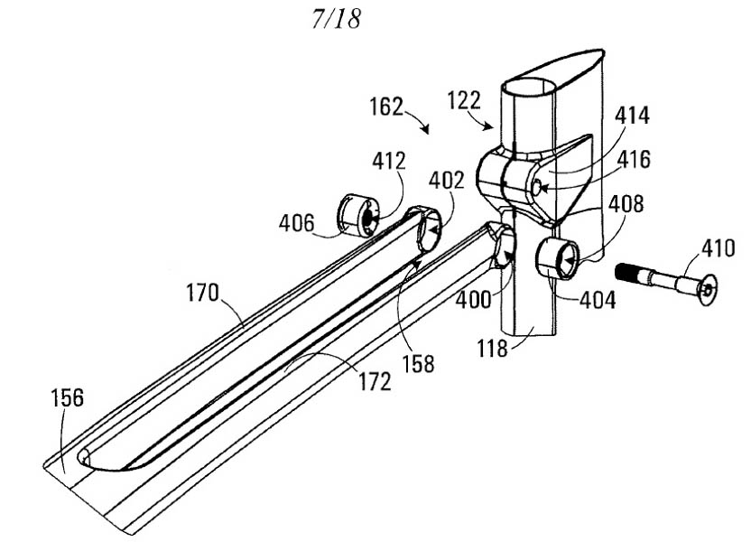
这份长达62页的专利文档当中,详尽地介绍了折叠概念的各种应用。在此列举几个关键部位的专利,下管在靠近五通处设计有一根轴,并且这个轴连接到车架后三角,该轴可以使车架前三角相对于后三角,在共同的竖直平面内绕轴旋转。

会是下一个自行车风口吗?折叠系统专利审查

这个设计还集成了一个车架锁,当接合时,该车架锁可以使轴转动不了,将车架置于骑行状态。而当车架锁解锁时,该车架锁有利于下管和立管绕着轴朝彼此相对运动。在共同的垂直平面内,以使车架处于折叠状态,其中下管与立管并排放置。

会是下一个自行车风口吗?折叠系统专利审查

会是下一个自行车风口吗?折叠系统专利审查

分体式可拆卸的上管设计使后车架前三角形可以旋转。值得注意的是,拆卸前必须卸下座杆。

会是下一个自行车风口吗?折叠系统专利审查

该折叠系统的优点在于,它几乎可以应用于任何形状的车架管,例如气动外形的楔形管。只需要加入集成的旋转轴系统,就可以随心所欲地享受其余的一切。这套折叠系统适用于集成电动机的电动自行车,公路自行车,城市通勤自行车,旅游自行车,越野自行车,带后胆的越野山地自行车,以及雪地自行车。

会是下一个自行车风口吗?折叠系统专利审查

完全折叠的气动公路车概念图。

会是下一个自行车风口吗?折叠系统专利审查

而第二代折叠系统,则使用的是可拆卸的立管,其旋转轴位于五通与下管之间的连接处。

会是下一个自行车风口吗?折叠系统专利审查

第二代折叠系统则不需要拆掉座管,而是将座管塞入车架后三角。需要注意的是,在五通附近安装的碟刹,因为传统的顶部安装的可能会挡住立管的拆卸及弯折。

会是下一个自行车风口吗?折叠系统专利审查

最后,是一套专为单杠自行车设计的折叠系统,这看起来像是一款为小尺寸自行车设计的简单有效的折叠方法。

会是下一个自行车风口吗?折叠系统专利审查

这些折叠式设计会增加多少重量,或者制造出来后,它会所增加的成本,还有待观察。

编辑:levvvvvv3000

您需要登录后才可以发动态 登录注册
全部评论热门评论